Echometer
Close

5" (50K) Horseshoe Dynamometer Transducer

 

This 5" Horseshoe Dynamometer system is designed to facilitate installation of the horseshoe load cell, and to eliminate measurement errors caused by changes in pump spacing resulting from installation of a horseshoe transducer between the carrier bar and the permanent polished rod clamp.

FEATURES

SPEC

  • Requires permanent installation of an inexpensive spacer spool
  • Rated at 50,000 lbs
  • Calibrated to yield overall accuracy of 0.5% of range or better
  • Instrumentation grade stainless steel
  • Includes high accuracy accelerometer
  • 2" throat

The hydraulic lift horseshoe dynamometer requires permanent installation of an inexpensive spacer spool over the polished rod positioned between the permanent polished rod clamp and the pumping unit carrier bar. When a dynamometer test is desired, the horseshoe transducer and a hydraulic lift assembly are easily inserted into the spool. The hydraulic lift is actuated using a small portable hydraulic pump, which transfers the polished rod load from the spacer to the 5" horseshoe load cell. Insertion of a ¼ inch spacer plate between the hydraulic lift and the horseshoe transducer and the release of hydraulic pressure allow removal of the hydraulic pump. Then, operation of the pumping unit until the well stabilizes allows a dynamometer analysis representative of conditions as the well is normally produced.

The most accurate dynamometer measurements are obtained using a calibrated strain gauge load cell, which measures directly the load on the polished rod. However unless the load cell is permanently attached to the well (such as in most Pump Off Controller applications), the installation of the load cell normally requires separating the polished rod clamp from the carrier bar for a distance that corresponds to the thickness of the load cell. This thickness is of the order of 3 to 6 inches depending on the type of load cell. As a consequence, the entire rod string is lifted by the same distance such that the pump plunger is further removed from the standing valve and is operating in a different section of the pump barrel from the section where it is normally operating. This will result in pump performance that is different from normal, especially if the pump stroke is relatively short. In particular, the different pump spacing will cause a different compression ratio, and the pump may have a greater susceptibility to gas interference and gas locking. In order to avoid these effects, it is necessary to insert the load cell with a minimum change in position of the polished rod relative to the carrier bar. This is accomplished by using the spacer spool, hydraulic lift and 5" horseshoe dynamometer equipment.

The hydraulic lift load cell systems consist of five elements: The 5" horseshoe transducer, the hydraulic lift, the spacer spool, the spacer plate and the portable hydraulic pump with hose and fittings. Please refer to the following drawings. The spacer spool is permanently fixed to the well over the polished rod between the pumping unit carrier bar and the polished rod clamp. The horseshoe transducer, hydraulic lift and spacer plate are located inside the spacer spool during the dynamometer test. The portable hydraulic pump is used to actuate the hydraulic lift so that the polished rod load will be placed onto the horseshoe load cell.

The 5" horseshoe transducer is rated at 50,000 Lb., and is calibrated to yield an overall accuracy of 0.5% of range or better. It is manufactured with instrumentation grade stainless steel and incorporates a high accuracy accelerometer from which signal the Well Analyzer software computes the velocity and position of the polished rod. The load cell is 5" O.D., 3.5" high and weighs 10 lbs.

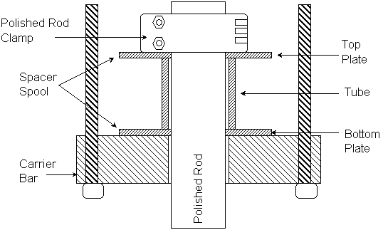
An inexpensive spacer consisting of two end plates and a central tube is sized to fit over the polished rod. The spool is located between the polished rod clamp and the carrier bar. The 5-inch long central tube supports the end plates. The distance between the end plates allows insertion of the horseshoe load cell and the hydraulic lift so that the polished rod may be lifted a short distance of approximately 1/4 inch by the hydraulic jack, which places all the polished rod load onto the load cell.

A low profile hydraulic jack with multiple pistons fits closely into the spacer spool together with the load cell. When it is pressurized, it lifts the load cell the distance sufficient to place the entire polished rod load onto the load cell. A spacer plate is inserted below the load cell. When the pressure is released, the polished rod load remains on the load cell, and the hydraulic hose is disconnected from the hydraulic jack. This allows full movement of the polished rod during normal pumping operations. The movement of the polished rod from its normal operating condition is less than the thickness of the ¼ inch spacer plate.

The spacer plate is a ¼ inch thick steel plate designed to fit between the bottom of the load cell and the body of the hydraulic lift. When the plate is inserted and the lift's pistons are retracted, the load cell continues to support the full load of the polished rod.

The portable hydraulic pump is connected with a hose and a quick-connect to the hydraulic lift. It is capable of pressurizing hydraulic fluid to a pressure of 5000 psi thus lifting the load cell when the buoyant rod weight is less than 30,000 Lb. and thus placing the entire polished rod load on the load cell.

All of the tests that were described using the 4" horseshoe transducer can be performed with the 5" horseshoe transducer. The main difference between the 4" and 5" OD load cells is the larger inner opening (or throat) that is required so that the transducer will fit over the spacer spool inner tube. The throat of the 4" transducer is slightly in excess of 1.5 inches, and the throat of the 5" transducer is slightly in excess of 2 inches. Necessarily, the OD of the transducer must be increased when the throat size is increased.

The following figures show the installation and operation of the Hydraulic Lift Dynamometer:


Terms Of UsePrivacy StatementCopyright 2011 by Echometer
Back To Top